La compañía estadounidense Apple estudia incorporar en sus próximos modelos una novedosa versión del sistema de reconocimiento de huellas dactilares Touch ID, de tal forma que no se tenga que sacrificar parte de la superficie de la pantalla para colocar el correspondiente sensor integrado en el botón Home, informa el portal Appleinsider.
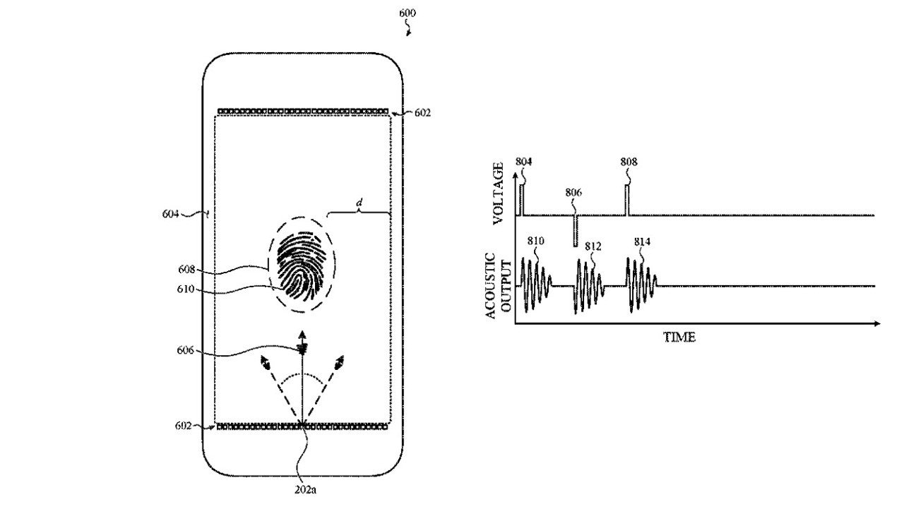
La empresa obtuvo este martes una patente denominada 'Codificación de pulsos acústicos para la imagen de superficies de entrada de datos', lo que permite aplicar sonido a la superficie del teléfono para detectar cómo se produce el contacto entre la pantalla y otros objetos que ejercen presión sobre ella.
Así, al colocar el dedo sobre la pantalla, se emiten unos impulsos que son interrumpidos allí donde las crestas dactilares —que forman el relieve de la piel— se encuentran en contacto con la superficie. A continuación, los reflejos de estos impulsos son analizadas y convertidos en una imagen de la huella digital.

Esta tecnología es muy similar a la de Ultrasonic de Qualcomm, que permite crear mapas tridimensionales de una huella dactilar con ayuda de vibraciones acústicas en la pantalla y que será estrenada próximamente en el Galaxy S10 de Samsung, de modo que Apple también podría incorporarla dentro de poco, señala Forbes.
En combinación con la tecnología de reconocimiento facial Face ID, esta nueva versión de Touch ID incrementará sustancialmente la seguridad de los dispositivos de Apple.
Sin embargo, el sistema requerirá algoritmos avanzados para determinar cuándo el usuario toca la pantalla con sus dedos de forma inadvertida, evitando así que el dispositivo se desbloquee accidentalmente en el bolsillo de su dueño.
Si te ha gustado, ¡compártelo con tus amigos!
