La Oficina de Patentes y Marcas de Estados Unidos ha aprobado este martes un solicitud de la compañía Apple consistente en un teléfono inteligente plegable. La patente obtenida, que la empresa estadounidense empezó a elaborar en 2013, demuestra la seria intención de Apple a crear móviles plegables en el futuro.
Aunque el actual proyecto de Apple fue presentado el 28 de agosto de 2014, solo ahora ha logrado obtener la patente.

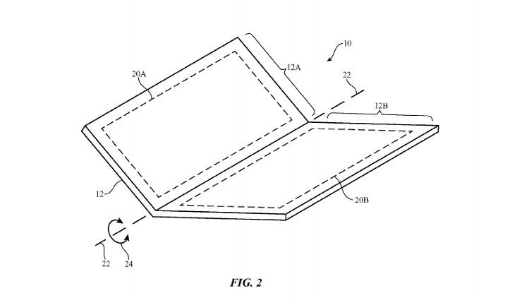
Según el portal Patently Apple, que se centra en las patentes de la empresa norteamericana, Apple fue capaz de mantener el proyecto bajo secreto usando un nombre del ingeniero durante el proceso de registro. Sin embargo, la propia patente lleva el nombre de la compañía y contiene varias imágenes del diseño icónico de iPhone.
La tecnología sugiere que el futuro iPhone estará hecho de vidrio, cerámica, fibra, aluminio o plástico, materiales que se utilizan actualmente en los dispositivos de Apple. Asimismo, la patente también introduce un nuevo material en forma de "nanotubos de carbono" que permitiría plegar el dispositivo en el centro.

El pasado mes de septiembre Apple presentó una patente de una bolsa "hecha de papel blanco compuesto de al menos un 60 por ciento de contenido reciclado".

